8 Patents That Prove Inventors Don't Understand Condoms
Sex is fun. Diseases and unwanted pregnancies aren't. Condoms have allowed more rubberized fun than bouncy castles, and the two can be combined for even more fun. But just like my grandma used to tell me, "Given enough time, all awesome dick-related inventions will be nut-slapped by inventors who don't know what the fuck they're doing." For instance ...
The Condom With A Hole In It
Someone designed a condom with a hole in it for people who want to get pregnant. That's a stupidly old idea even as a joke, never mind as a real invention.
Assuming a perfectly cylindrical penis, as only robots could manipulate those tiny connections during sex.
Look at that schematic for disaster. Part 34 is a string you pull to release reinforcing ring 122 just before ejaculation. Imagine groping between all those legs trying to pull a string like you're opening a parachute ten feet from impact. And let's not overlook the phrase "reinforcing ring." No matter how I picture that, it sounds painful. I mean, by definition it would be made of a hard material, right? You're counting on it not to tear or trigger under all the slippy stresses of sex until they pull it for the world's worst party popper. I keep imagining that ring punching into the end of a dick and all over the other person's insides, and I can't stop making the "OH DEAR GOD NO" face.
Why would you use this? According to the designer:
The condom may be used by couples wishing to conceive a child but who want to reduce the risk that a disease or virus, etc. will be passed from one person to the other ... A cord attached to the cover can be pulled to remove the cover from the distal hole immediately before ejaculation.
That's the most terrifyingly impossible biology outside of an Alien movie. I'm surprised they didn't design a Stork Mesh -- a fence with holes large enough to allow infants but too small for storks -- to protect expectant parents from bird flu. If there's enough fluid exchange for conception, there's way more than enough for infection. This just guarantees that even catching the disease is awkward and painful.
Ballpoint Pen, Hidden Condom
This is the worst nerdy sex fantasy I've ever seen, and I spent my entire teenage life exclusively generating them. It's an attempt to extend the pocket protectors' domain to your genitals with a ballpoint pen which hides two condoms. Just in case your most recent mathematics demonstration subtracted the underwear from your audience, and now they want to add your inputs.
It's tragic optimism writ and writing large, and it's also the world's worst pen. Look at the inkwell in part 29. You could hold more ink in an actual penis. You'd have to be getting laid twice per signature to use this before it ran out. And the schematic looks fine from the side, but remember that pens are cylinders. How are they scrunching up the condoms to fit? You'd need tweezers and a degree in origami to unpick and unwrap them. Which is going to take far more time than what you save snapping open a pen instead of reaching for a wallet, purse, pocket, drawer, or literally any other item capable of storing objects.
To say nothing of when the pen inevitably leaks and your bed sheets become the first Rorschach test to objectively look like genitals.
The Condom Applicator Cross
The difficulty of putting on condoms is the airline food of sexual humor. But let's be real here: Condoms simply aren't that hard to put on after a little practice. And even if they are, this impossibly stupid fucking cross thing isn't going to help.
They claim that you can save hassle with this simple four-point procedure for preparing the pre-insertion portion of the condom application phase:
In the preferred embodiment, the pocket at the tip of the condom from which air is forced out as by twisting is held in a slit cut in the center of a rectangular strip applied on the condom from one side of its base along the length to the tip and then back along to the other side of the base, and which is provided with pull tabs extended laterally from the center of said strip where the slit is out.
NASA's pre-launch procedures aren't so needlessly complicated. And are demonstrably hotter.
This isn't a helpful tool; it's an ironic punishment designed by asexual puritans. If you find it hard to put a condom on a cock, you're going to find it impossible to feed the tip of lubricated latex through a tiny slit in a rigid crucifix. This is the less sexy version of forcing a camel through the eye of a needle, with even more disturbing implications.
The Motorized Self-Destructing Condom
Vibration is all kinds of fun. Adding motorized toys is the ultimate cyborg future -- using our mechanical advances to enjoy our biological components. Science-fiction movies waste time with bullshit about losing your humanity when you're super strong or bulletproof, but make no mistake: As long as your elite polyalloy battle frame can still come, you'll still be human and you'll still be happy. That's why RoboCop was always frowning, despite succeeding in every mission he ever had.
But these sexual systems have to be extremely well-designed. Otherwise, putting mechanical parts near tender membranes is a recipe for disaster. Or, in the case of this patent, a schematic for disaster.
This patent puts a tiny motor into your condom. The problem is that motors that size don't actually exist at the budget level of "disposable." And if they're not disposable, they're basically disease dipsticks. Besides, if we had motors that small and sensitive, we wouldn't need turbo-charged condoms, because we'd already have antiseptic sex bots to vibrate all over our every need.
No, these will end up with the motors you get in shitty dollar-store toys. Like those friction motors which grind and shoot showers of sparks like a genital firework. At best, this motor's only going to go wrong and rip up the condom. At worst, it'll start snarling up the nearest skin and FHJGHIH. Sorry, I just buckled over clutching my crotch so fast that I headbutted the keyboard.
The Condom With LOTS Of Holes In It
What's the last thing you'd do to a condom before using it? How about constructing a Rube Goldberg machine to drill thousands of holes in it?
This factory-line laser blaster is something Skynet would build if it wanted humanity to wipe itself out through overpopulation. But why would a human wear it? Here's an explanation from the inventor (whom we don't recommend touching without heavy gloves):
Although latex condoms are less expensive and more convenient to use, the relatively more expensive condoms made of animal membranes, such as sheep intestine, are still widely used throughout the world. In fact, they are preferred by the cognocenti despite their several disadvantages.
Wait, did they just call smart people sheep fuckers?
Forget the gloves; don't breathe air in the same room as them without a spacesuit if you don't want to donate your name to three new animal diseases.
A large number of small holes in the condom allow the transfer of hormonal, pheromonal, and other bio-active fluids during sexual intercourse. The cross sectional diameter of the holes is made small enough to impede the passage of human spermatozoa so that the contraceptive function is retained.
"Other bio-active fluids"? Sex isn't a superpower-granting accident; it just feels that way. If someone can't even name all the fluids exchanged during sex, then they really shouldn't be deciding which should get through. This is a condom which won't stop diseases, and unless it's made of adamantium foil, those tiny holes are going to be stretched, so it won't stop pregnancy either. You really would be better off using a colander as a prophylactic, because at least its design would prevent penetration. Or get you into a fetish which doesn't risk conception.
The Condom With Tits
New textures can be a lot of fun, but you can't change the texture of your genitals without serious medical problems. Which would interfere with your ability and/or your partner's willingness to have sex. Novelty condoms can give you both different feelings. In this case, that feeling is eternal shame.
Paging Dr. Freud, Code Red. Seriously, look at that bullshit. There is absolutely no justification in the patent, other than someone with a weird Total Recall fetish. The entire text of the patent is:
The Ornamental design for a Condom, as Shown.
That's it! That's all! That is the entire text of the claim! This person came up with "tits on a condom" and thought, "That's it. That is all I can, or wish to, contribute to this mundane world. My genius speaks for itself."
Though to be honest, it did introduce the phrase "titdick" to my insult vocabulary. So at least there's an upside.
The Force-Sensitive Sound-Playing Condom
A "force-sensitive" condom should glow in the dark, make lightsaber sounds, and still be more fun to watch for two hours than The Phantom Menace. And hey, speaking of expensive, ridiculously-designed disasters:
It had better be playing "Ride Of The Valkyries"
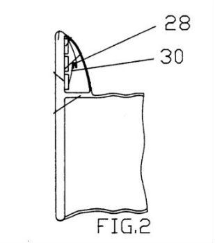
The system plays sounds when contacts 28 and 30 are pressed together. Look at them:
Those contacts don't have anything to do with the penetration or depth; they're just buttons placed somewhere nearby. The sound only triggers when the bloke isn't merely all the way in, but actively trying to fuse his groin with his partner. And if a guy is having sex with a girl, an invention couldn't go more wrong than focusing on hitting the small sensitive area above the insertion on the male. I mean, I see a loosely possible upside in trying to make a video game out of aiming that thing at the clitoris, but that's only possible in one position. Flip over to doggy style, and you're now trying to give her butthole sound effects.
The scariest part is that the patent says this sonic screwdriver "has value as a fun gift." Imagine a friend handing this to you. Which means they've already pre-loaded a sound sample. They've sat down and thought about what sound effect your sex should have. And the only way to find out is to hammer hard enough to trigger it. It turns sex into an amusement park "Test Your Strength" machine with even cheaper sound effects.
An Inflatable Condom!
This patent was absolutely designed in a schoolyard by a kid who'd totally done it, like, 20 times, with a million different women, and they all had a thousand orgasms each. But you wouldn't know them, because they all live in Utah.
That cartoonish bulb looks like it's inflating to accidentally punch Wile E. Coyote in the face. We didn't know ACME even made sex toys, but if they did, they'd look about this erotic and involve almost as many sheer physical impossibilities. Picture someone pumping away at both their partner and that little hand-ball, clutching it like the world's most misguided squeaky toy.
Accounting for the various penis sizes is important. If someone's prepared to put in the work or tools to make sure their partner is satisfied, that is always a good thing, and not to be mocked. But pumping them like a bike tire isn't the way to go. Especially when there's the inevitably awful internal implosion, and resulting pressurized farting. As a condom, it's going to be made of thin disposable material, but you'd need Richard Branson's hot air balloon to take these kinds of pressures.
To say nothing of the impossible pneumatic pressure required to inflate that thing between two thrusting humans. It would feel like trying to encourage an increasingly unwilling inflatable sex doll. The recipient would feel like their internal cavities are being stuffed with air pockets, as if they were being prepared for postage. Though trying to inflict one of these on your partner really would be the ultimate contraceptive, as you'd never have sex again. But as a pregnancy and STD prevention tool, I suppose it does have some use. The inflation would push the condom away from your penis, so you're effectively fucking air. It completely removes the most important ingredient for ejaculation: friction. So at its core, the inflatable condom is an exercise in abstinence-only prevention. Because if you can't ejaculate, you can't spread your disgusting, disease-infested seed.
Fear the power of invention with The 7 Most Terrifying Sex Toys Ever Patented and The 6 Geekiest Sex Toys.
Luke also beholds The Most Amazing Combos in Fighting Game History and The Best, Worst, and Weirdest Legends of Zelda.
Luke has a website, tumbles, and responds to every single tweet.
Learn why non-lubricated condoms are a must for doomsday preppers (it's not because zombies like it raw) in 6 Odd Things Doomsday Preppers Stockpile (That Make Sense). And check out why condoms are actually not 97 percent effective with The 5 Most Important Things They Never Taught You in Sex Ed.
Subscribe to our YouTube channel to see Roger give you the unlubed truth about condoms in If Condom Commercials Were Honest, and watch other videos you won't see on the site!
Also follow us on Facebook, and then lay back and relax. Don't worry, we'll do all the work.
Check out Robert Evans' A Brief History of Vice: How Bad Behavior Built Civilization, a celebration of the brave, drunken pioneers who built our civilization one seemingly bad decision at a time.
